애플이 만든 전기차! 애플카 7가지 혁신 기술! 예상도 공개! Apple Car! iCAR!
사진 기아자동차 | 글, 연못구름

"단순 감"이 아닌 정확한 "수치자료"를 통해서 비교 분석 자료를 제시하는 연못구름입니다!
국내에도 아이오닉5와 EV6가 선보이면서 전동화 시대가 본격적으로 열리기 시작한 것 같아요!
과연 애플이 만든 전기차에서는 아이폰만큼 혁신을 보여줄까요?

혁신하면 생각하는 기업이 애플입니다. 애플을 대표하는 키워드죠!

▲ SOURCE : CARSCOOPS.COM
애플도 애플카를 준비 중이라는 소식은 이미 오래전부터 알고 계실 것 같은데, 최근 해외 채널 카쿱스에서 공개한 애플카 예상도부터 보시죠!
2024년도 그러니깐.. 앞으로 3년 뒤에 출시를 앞두고 조금씩 베일을 벗는 것 같네요!
# 영상으로 보시면 보다 세부적인 정보를 얻을 수 있습니다
안녕하세요? 연못구름입니다.
지금은 누구나 다 손안에 PC를 들고 다니는 시대가 되었죠?
스마트폰이 손 안에 PC 시대를 열게 만들어준 주인공은 여러 업체가 있겠지만 모든 사람들이 다 들고 다닐 수 있게 보급한 것은 애플이라고 해야겠죠! 또 하나의 야심작! 애플에서 만든 전기차를 애플카라고도 하는데 최근까지 말만 무성했는데 과연 어디까지 왔는지 궁금하시죠?
애플이 자율 주행 차량을 준비하고 있다는 점은 여러 매체를 통해서 익숙하게 나왔던 정보라서 사실 새로울 것이 없습니다.
다만 정말 언제쯤 애플카를 선보이게 될 것인지? 그리고 애플이 최초로 선보인 아이폰과 같이 어떤 혁신을 보여주게 될 것인지? 두 가지가 최대의 관심사가 될 것 같아요!
애플카 프로젝트명은 거인을 의미하는 "titan"으로 2014년도에 시작되었습니다.
초기만 해도 단순히 신사업 정도의 수준으로 검토하는 것으로 파악되었지만 Project Titan은 1000명에 가까운 직원으로 구성된 대규모 프로젝트로 알려지면서 이슈가 되었고 2018년 기준으로는 5000 명의 직원이 타이탄 프로젝트에 참가한 것으로 알려졌습니다.
지금은 애플의 직원이 15만 명 정도이니 타이탄 프로젝트에 참여한 직원 수는 몇 만명 수준이 되었겠죠? 애플의 야심을 알 수 있게 되었죠!
※ 유튜브에서 "연못구름"채널을 "구독"하시면 신차 소식을 빠르고 정확하게 받아보실 수 있습니다! (상기 이미지를 누르면 이동)

그리고 4년 뒤인 2018년에는 테슬라 출신 더그 필드 부사장을 재영입하면서 애플이 진행하는 타이탄 프로젝트가 진행되고 있음을 재확인할 수 있었습니다.
이 과정에서 타이탄 프로젝트는 직원을 해고하고 여러 우여곡절이 있었고, 다이슨 전기차처럼 사업을 접는다는 이야기도 있었지만 결국 진행을 하는 것이 확인되었죠!

애플카 핵심에는 더그 필드 부사장이 있는데, 많은 분들이 테슬라 출신으로 알고 있지만, 애플 출신으로 2013년도에 친정인 애플을 떠나서 테슬라로 이직했다가 다시 고향으로 돌아온 사림입니다.
더그 필드의 경력을 보면 포드 자동차, 세그웨이에서 경력을 쌓고, 애플에 입사해서 하드웨어 엔지니어 부문 부사장을 역임했는데 2013년도에 테슬라로 이직해서 엔지니어링 부사장을 역임했습니다.
테슬라의 경험을 포함한 핵심 인재라고 할 수 있는데, 애플로 돌아가면서 전기차 기반의 자율 주행차가 진행되고 있다는 점을 확인할 수 있었습니다.

올해 초였죠? 현대와 기아가 애플의 잠재적인 파트너로 애플카 생산을 위해서 제휴할 것이라는 소식이 전해지면서 현대차그룹 전 계열사는 연초 대비 시가총액이 29조 4104억 증가했습니다.
290억도 아니고 2900억도 아닌 29조가 늘었다니.... 정말 주식차트를 보고 있으면서도 믿기지 않을 만큼 놀라운 세상에 살고 있는 것 같네요!

절묘하게 현대차그룹이 이 시기에 전기차 전용 플랫폼인 EGMP를 발표했는데, 애플카 소식까지 전해지면서 15만 원 수준의 주가는 29만 원까지 올랐습니다.

작전주도 아니고 코로나로 인해서 20년도에 65000원 수준으로 떨어진 주가가 1년 만에 289000원이면 4배 이상 급등한 것인데... 놀라운 시대에 살고 있네요!

이후 기아도 비슷한 이야기가 있었으며, 현대차와 기아의 경우 동등한 입장의 제휴가 아닌 애플의 위탁생산업체 즉 하청업체가 되기 꺼렸다는 썰까지 돌았는데, 현대차는 공식 채널을 통해서 "논의하고 있지 않다"라고 발표를 했지만, 이 덕분에 애플이 이제 자동차 생산업체를 통해서 본격적으로 자동차 사업에 진출하겠구나!라는 점은 확실하게 알 수 있었습니다.

현대차와 기아 외에도 혼다, 닛산 등 다른 제조사도 비슷한 이야기가 있지만 애플은 본인이 노하우를 공유하는 동등한 파트너가 아닌, 아이폰을 생산했던 것처럼 대량으로 생산할 수 있는 소위 하청업체를 계속 물색하는 것으로 알려졌습니다.
생산을 직접하지 않는데 전기차를 만들 수 있을까요?

이렇게 말씀하시는 분들도 있지만, 애플이 만든 아이폰도 애플이 직접 하드웨어를 제조하지 않고 위탁해서 생산하고 있으며, 테슬라도 차이가 있지만 비슷한 방식이었고, 최근 영상으로 소개해 드렸던 카누의 경우도 작은 스타트업에서 시작했는데, 최근 현대차와 투자 부분을 연장하지 않고 직접 생산부터 판매까지 하겠다고 발표했습니다.

즉, 기술과 설계 부분만 애플이 담당하고 나머지 생산 부분은 역량 있는 기업을 통해서 해결하겠다는 것이죠!
예전에는 제조가 곧 기술이고 생산력이었다면 현재는 좋은 아이디어를 구체화할 수 있는 기업이 주도권을 가지고 가는데, 전동화 시대에는 A 부터 Z까지 모두 생산하지 않아도 마치 PC처럼 그래픽 카드는 Ndivia 가 만들고, CPU는 인텔이 만들고 메인 보드는 ASUS가 만드는 것처럼 분업화가 되어가고 있습니다.
소비자가 자신에게 맞는 부품을 직접 선택해서 고성능 조립 PC를 만드는 것처럼 전기차도 이런 방식이 멀지 않았다는 것이죠?
이런 이유 때문에 카누와 같은 업체는 스타트업 기업에서 곧 전기차 상용차를 대표하는 기업이 될 것으로 예상합니다. 전기차를 대표하는 테슬라도 알고 보면 오래되지 않았죠?

애플카에 관심이 많은 분들이라면 애플이 자동차 관련 특허만 200여 개가 넘게 등록한 것을 들어보셨을 것 같은데, 몇 개의 기술을 소개해 볼게요!
자동차의 자율 주행 기술이 계속 발전하기 때문에 조금 지나면 운전석에 앉아서 운전을 해야 하는 상황은 사라지게 됩니다.

그럼 차에서 이동하는 동안에 무엇을 해야 할지? 고민이 되겠죠? 이동하는 동안 창문을 보는 일이 많을 것 같은데, 창문에 홀로그램으로 바라보고 있는 건물 등에 대한 정보를 표시해 주거나 또는 커다란 건물은 나무 등으로 보여줘서 숲속을 지나가는 것과 같은 증강현실을 보여주 것 같네요!

체온에 맞춰서 공조기가 연동되는 기술도 특허를 내었는데, 지금은 차량 내부 온도에 따라서 조작을 한다면 체온에 맞게 센서가 감지하고 온도와 습도 등을 자동으로 맞춰주게 되겠죠?

야간에 치량내에서 물건이 떨어지면 독서등을 켜도 조명에 음영이 생겨서 물건을 찾기 힘들어지는데 지금처럼 방향이 고정된 조명이 아닌 센서가 스스로 방향을 인식해서 비춰주는 기술도 특허를 출원했습니다.

만약 책을 읽으면 자동으로 독서등을 켜주고 책 위치에 따라서 조명을 비춰주거나 책을 읽다가 잠이 들면 눈을 감지하고 있다가 자동으로 조명을 꺼주는 기술까지도 포함되었습니다.

또한 차량내 뿐만 아니라 차량 외부에 있는 경우도 헤드램프 등에 센서를 이용해서 비춰주는 기술까지도 특허를 내놓았습니다. 애플 답죠?

틴팅 기술로 특허를 냈는데, 필요 상황에 따라서 틴팅의 농도를 변경하는 것이죠? 예를 들면 가장 기본적인 햇빛을 차단하는 썬팅 기능부터 실내 물건의 분실을 방지하는 자동 틴팅 기술까지 포함된 기술입니다. GPS 좌표에 따라서 시내와 고속도로에 따라서 농도를 조절해 주는 기능까지 포함되어 있습니다.

손동작만으로도 주차와 차선을 변경해 주는 기능도 출원했는데, 제스처 동작만으로 앞으로는 차선 변경이나 주차가 가능할 것 같네요!

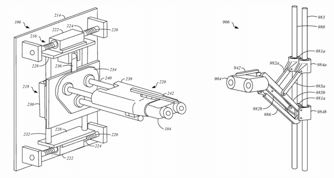
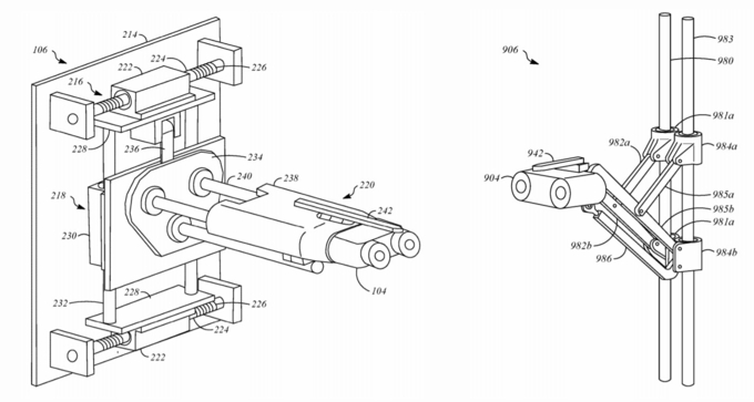
이 밖에도 전기차에서 중요한 충전 기술도 패시브 얼라이먼트 매커니즘 차징 스테이션이라는 이름으로 특허를 출원한 상태입니다.
충전 도면을 보면 누구든지 자신의 차고에 설치가 가능하고, 후진으로 충전 포트와 자석처럼 손쉽게 연결되는 구조입니다.

자동차 관련 특허만 어마 무시한 데 이런 기술 중에서 일부가 초기 애플카에 될지도 기대가 됩니다.

또한 자율 주행 핵심 기술인 ADAS를 정밀하게 제공하기 위해서 라이다 기업들과 협업하는데, 라이다 관련 업체들의 주가가 들썩 거리는 것을 알 수 있습니다.

▲ SOURCE : CARSCOOPS.COM
카쿱스에서 공개한 애플카 예상도를 보면 이러한 소식 뒤에는 매끄러운 디자인에 스타리에서 본 그릴과 유사한 디자인을 볼 수 있습니다.
아마도 아이폰을 모티브로 그린 것 같은데 자동차 커뮤니티를 대표하는 채널인데 양산까지 아직 많은 시간이 남아있기 때문에 가볍게만 참고하시면 좋을 것 같네요.
애플이 만들면 비현실적인 미래지향적인 전기차가 나올 것 같은데, 양산차에서는 차이가 있겠죠?

※ 유튜브에서 "연못구름"채널을 "구독"하시면 신차 소식을 빠르고 정확하게 받아보실 수 있습니다! (상기 이미지를 누르면 이동)
# 애플카 자율 주행 기술력은?
<영상 네덜란드 매체인 LetsGoDigital 에서 공개한 애플카의 컨셉트입니다.>
전기차를 대표하는 기업인 테슬라의 자율 주행 기술력은 최고라고 평가받고 있는데, 애플카는 주행 기술력은 어느 정도일까요?
여러분이 생각하시는 것과 다를 것 같은데 기술력을 평가하는 내비건트 리서치의 2020년 자율 주행차 보고서를 유심히 볼 필요가 있습니다.

1위는 구글의 웨이모이고, 압도적인 빅데이터를 바탕으로 1위를 차지했습니다. 2위는 예상외로 포드가 차지했는데, 기술력이 상당한 것을 알려졌습니다.
중국기업인 바이두가 8위에서 4위로 수직 상승했는데, 중국의 자율주행 기술도 상당한 기술력을 보유한 것을 알 수 있습니다.
6위는 현대차그룹이 차지했는데, 어댑티브 크루즈 컨트롤 기술이 높은 점수를 받았으며, 자율 주행 기술에서 포드 이상의 성장세로 주목을 받고 있습니다.

20위까지 조사인데, 애플은 보이지도 않고, 테슬라가 18위를 기록했는데, 기대와 너무 다르죠?
1위를 테슬라로 예상했던 분들이 많았을 것 같은데, 기술과 파트너 전략, 생산능력, 품질과 안정성, 포트폴리오를 종합한 점수라서 개인 위주의 양산차를 만드는 테슬라는 실용적인 ADAS와 소프트 업데이트 등의 기술로 평가했다면 좀 더 높은 평가를 받았겠지만 차이가 있다는 점을 참고하세요!

애플은 20위 안에 없는데, 캘리포니아 주에서 자율 주행 테스트를 하면 주행 결과에 대한 보고서를 제출하게 되는데, 보고서에는 주행 거리당 사고 등을 포함하고 있습니다. 기대와 다르게 자율 주행 기술은 경쟁 회사 대비 낮은 수준으로 알려졌기 때문에 애플카가 2024년도에 발표될 것이라는 애플의 발표와 다르게 늦어질 것이라고 바라보는 시각에 힘을 싣게 되는 것 같네요!

애플만의 참신한 아이디어 외에도 전기차에서 가장 중요한 배터리 기술도 애플카에 선보일 예정인데, 가장 중요한 주행 거리를 획기적으로 늘리겠다고 합니다.

구체적인 정보는 전해지지 않았지만 리튬이온 보다 과열 가능성이 낮은 리튬인산철 배터리를 연구하고 있는 것으로 알려졌으며, 배터리 비용을 획기적으로 낮춰서 가격 경쟁력을 높이는 목표를 세운 것으로 알려졌습니다.
로이터 통신에 의하면 아이폰을 처음 봤을 때처럼 깜짝 놀랄 것이라고 하니, 기대감이 높아지네요!

전고체 배터리 이야기도 들리지만 전고체 배터리의 경우 도요타가 가장 높은 기술력으로 평가를 받지만 애플카 출시인 24년도 까지 양산이 힘들 것으로 전망되기 때문에 어떤 배터리 기술을 선보이게 될지도 기대가 됩니다.
※ 유튜브에서 "연못구름"채널을 "구독"하시면 신차 소식을 빠르고 정확하게 받아보실 수 있습니다! (상기 이미지를 누르면 이동)
# 전동화 시대의 핵심 4가지 핵심 기술!
앞으로 전동화 시대에는 4가지가 핵심이라고 할 수 있는데, 배터리 기술, 자율 주행 기술, 소프트웨어 기술, 플랫폼 기술인데, 제 생각에는 소프트웨어 기술 부분에서 애플이 가장 잘할 수 있을 것 같습니다. 애플이 만들면 똑같은 제품도 좀 더 완성도 있게 만들죠?

하지만 자율 주행 기술과 모든 제조사의 고민인 배터리 기술은 아직까지 완성도가 낮을 수준이라고 할 수 있으며, 전기차 전용 플랫폼은 기존 플랫폼 제조사인 현대와 폭스바겐 벤츠, 도요타 정도만 양산차에 제공할 수 있는 상황이라서 애플카가 어떤 파트너와 손을 잡게 될지도 중요할 것 같네요!

이번 영상에서는 애플카의 소식을 정리해 드렸는데, 아이폰의 혁신을 보여준 애플이 전동화 시대에 새롭게 보여줄 전기차가 기대가 되네요!
영상이 도움이 되셨다면 구독과 좋아요 부탁드립니다.
차 정보를 가장 빠르고 정확하게 얻는 방법 아시죠? (상단 이미지 클릭 이동)
새롭게 출시될 신차 소식이 궁금하다면 연못구름 유튜브 채널에서"구독"과 "알림 설정"을 하세요!
"알림 설정"을 하셔야 기다리지 않고 신차 소식을 자동으로 받아보실 수 있습니다.
다음 영상도 도움이 될 수 있게 준비하겠습니다.
# 빠르고 정확한 신차 추천 유튜브 영상!
'신차, 그것이 알고 싶다' 카테고리의 다른 글
| 스포티지 풀체인지! 투싼 잡겠는데! 예상도 분석! KIA SPORTAGE NQ5 Design! (0) | 2021.05.23 | 
|---|---|
| 싼타페 하이브리드 출시 임박! 하브로 구입 하세요! 4륜도 혜택받을 수 있을까? (feat.쏘렌토 하이브리드도 가능) Santa fe Hybrid! (0) | 2021.05.22 | 
| 블레이저 닮은 이쿼녹스 페이스리프트 출격 한다! Chevolet Equinox facelift (1) | 2021.05.18 | 
| 1분기! 기아가 형님 현대차 또 이겼다! 올해는 기아가 역전할까? (0) | 2021.05.17 | 
| 기아가 만든 쏘넷 7인승 소형 SUV! 천장형 송풍구까지 제공된다고! (feat. 셀토스,스토닉,베뉴) KIA SONET Small SUV! (0) | 2021.05.16 | 




 
									
								 
									
								 
									
								